设为首页 收藏本站
文登社区 首页 资讯中心 今日头条 查看内容

七问港铁:免费“暴徒专列”究竟是怎么开出来的?

2019-8-23 13:00 |来自: 环球时报

由于港铁的这种纵容态度,暴徒近期的活动越来越依靠港铁,几乎每次发难的地点都选择在港铁站附近,以方便逃走。港铁名义上是在提供暴徒专车,实际上却是在制造暴乱铁路。

作者:补壹刀 执笔:鸽子叨

这次,港铁真的开出了一趟“暴徒专列”。

21日深夜11时半,黑衣示威者在港铁元朗站,与警方暴力对抗,并把地铁站破坏得一片狼藉之后,乘坐港铁加开的的列车扬长而去,免费的。

港铁作为香港政府控股的公共交通机构,一再纵容暴徒违法行为,还为暴徒提供逃走专列,让人匪夷所思。以公共交通安全为重,用更明确的态度拒绝暴徒,对港铁来说怎么就那么难?

有七个问题实在想问问港铁……

问港铁,为何有法不依,知法不执法?

据昨晚前线记者发回来的报道,暴徒在元朗地铁站内的行为十分恶劣,在车站出入口投掷燃烧弹,用灭火筒射警员设路障、喷灭火剂、拆毁车站内多个设施堵塞出口,消防钟响个不停,各出入口铁闸被拉等等。

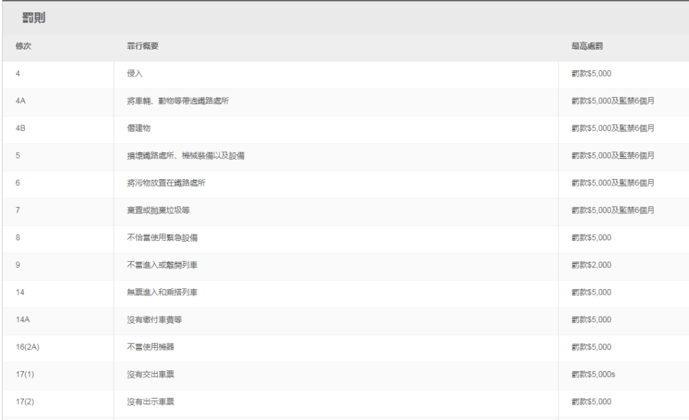
刀妹对照了一下《香港铁路附例》,第四条,侵入,罚款5000港币,监禁6个月;第五条,损坏铁路处所,机械设置及设备,罚款5000港币及监禁6个月;第六条,将污物放置在铁路处所,罚款5000港币及监禁6个月;第七条,弃置或抛弃垃圾等,罚款5000港币及监禁6个月;第八条,不恰当使用紧急设备,罚款5000港币;第九条,不当进入或离开列车,罚款2000港币;第14条,无票进入和乘搭列车,罚款5000港币;第23A条,火灾危险,罚款5000港币及监禁6个月。所有这些暴徒们昨晚和之前违反的条例,港铁无一例外,全都没有处罚。

《香港铁路附例》是有法律效力的条例,也是主要保障港铁公司利益的一个法例,港铁知法不执法,没有对暴徒进行过任何的惩戒。如果这个法治传统被破坏,大家之后是不是也可以随意在港铁里做这些违法行为,而不被处罚,港铁你是不是在搬起石头砸自己的脚。

问港铁,为啥不让警察进站执法,任由暴徒在车站捣乱?

昨晚7点40分左右,元朗站已经有2000名示威者聚集,晚上大约8时15分,车站闸口被开启,任由集会者自出自入。在暴徒破坏期间,港铁只是对外表示有“公众活动进行”,所有列车不停元朗站。从始至终,港铁都没有正式报警让警察进来执法,而按照《香港铁路附例》警察是完全可以进来执法的,但港铁却不让警察进来执法,而是任由暴徒在车站捣乱。

港铁的大股东是香港政府,因此在主要的公共交通机构这个角色外,港铁某程度也属于半公营机构,理应承担社会责任,尤其是配合警方执法,共同制止暴力,维护公共安全。但港铁却没有这么做!此前,一些港铁车长甚至还联署督促港铁阻止警方进入车站范围,包庇暴徒意味不能更明显。

问港铁,为啥明知暴徒有行动,不提前做好预案?

实际上,现在暴徒要去哪里都会提前公开的,比如他们会预告哪一天会去哪搞一场大活动等等。港铁肯定也是知道他们行程的,其实完全可以提前做一些准备。但现在来看,应该是没有。至于为什么没有,刀妹就只能揣测港铁有一些自己的态度在里边。

更为吊诡的是,港铁的一名高管之前对刀妹说,他们每天都在加班制订各种紧急预案,多达上百个。他们还要求员工中立。现在看来,他们可能加的班还不够。

问港铁,为啥不保护自己被暴徒欺凌的员工

应该承认,港铁其实也是暴徒行为的受害者。尤其是那些被暴徒无端欺凌的无辜小职员。在本月黑衣人的一次示威游行中,一位负责维修的技术员前往地铁站维修电梯,他当时未穿站务员制服,但有佩戴员工证。只是因身份受到怀疑,就遭到示威人士的肢体冲撞及一连串的辱骂。香港铁路联合工会的主席告诉媒体说:“都是些最难听的话,问候人家祖宗十八代的都有,我都没法重复给你听”。据大公报报道,前晚更有逾百人涌到太古站,围堵辱骂港铁职员长达六小时。

香港铁路联合工会已经就此事和港铁公司进行商议,但港铁的说法是,未来如车站正常运作受影响或职员安全受到威胁时,将寻求警方协助。为什么不现在就勇敢地想暴徒行为说不,保障自己员工的身心健康呢。难道那些纵容支持暴徒行为的员工是员工,这些被欺凌的就不是员工?

问港铁,为啥容许个别职员利用公共资源为暴徒行方便?

港铁出现暴徒免费乘车的事情已经不是一次两次了。

据知情者回忆,由于一些列车长和职员的态度问题,有几次示威活动之后,港铁职员放开闸门,示威者不买票就乘车走了。这典型就是拿着公共的资源去保护暴徒、掩盖他们的罪行。这些港铁职员的行为毫无例外也都没有受到任何处罚,这不是一个法治的香港应该呈现的样子,这也不符合公共机构应负有的责任和义务。

如果香港全社会的公共机构都按照港铁的方式做,那么香港整个社会就乱套了,过去几十年积累下来的法治传统全部都要崩塌。

问港铁,为啥承受着暴徒的破坏,还是要给庇护暴徒?

虽然港铁在主观上和客观上给暴徒提供了很多便利,但它也并没有在暴徒那落着好。

港铁可能担心如果不配合暴徒的需要,将会遭到暴徒的狙击。但问题是港铁妥协了,实际上已充分配合暴徒的行动。结果不但没有令暴徒收手,反而令他们更加变本加厉,更加有恃无恐地在港铁站搞事,港铁的所为根本是在饮鸩止渴。港铁职工们更是沦为暴徒们的出气筒,每次暴徒跟警方冲突,警方释放催泪弹后,示威者就把气撒在在地铁工作的小职员身上。

这笔账,刀妹希望港铁能早点算明白。

问港铁,到底谁才应该是你的服务对象?

港铁公司的前身“地下铁路公司”成立于1975年,成立时法定资本20亿港元,由财政司法团以信托形式代表当时的香港政府全资拥有,采取审慎商业原则运作,配合本地公共运输需求。1999年进行了私有化,政府现持有4,434,552,207股股份、占全部已发行股本约75.09%,通过公开招股向香港市民等投资者出售了近10亿股份,港铁现在是香港上市公司中股票持有人最多的公司。换句话说,港铁是全香港人的港铁,保障公共系统的顺畅运行,是港铁的责任和义务。

暴徒的行为已经多次干扰港铁的运行,很多上班族不堪其苦。在车厢里,常常有乘客对暴徒们严厉谴责。也有不少声音指责港铁姑息纵容暴徒。但是这些声音似乎被港铁忽略了,因为它并没有对暴徒阻碍列车正常运行的行为作出任何的反应。更为严重的是,由于港铁的这种纵容态度,暴徒近期的活动越来越依靠港铁,几乎每次发难的地点都选择在港铁站附近,以方便逃走。港铁名义上是在提供暴徒专车,实际上却是在制造暴乱铁路。

作为公共交通机构,港铁真正应该服务的难道不是广大市民正常、安全、高效的出行吗?怎么竟然沦为暴徒的快速逃走工具?

上述七问,请港铁给个说法!


鲜花

握手

雷人

路过

鸡蛋
 
 
文登之窗版权与免责声明:

凡本网注明"来源:文登之窗网"的所有作品,版权均属于文登之窗网,未经本网授权不得转载、摘编或利用其它方式使用上述作品。已经本网授权使用作品的,应在授权范围内使用,并注明"来源:文登之窗网"。违反上述声明者,本网将追究其相关法律责任。
凡本网注明"来源:xxx(非文登之窗网)"的作品,均转载自其它媒体,转载目的在于传递更多信息,并不代表本网赞同其观点和对其真实性负责。
免责声明:凡本网转载自其它媒体的作品,版权归原作者所有,如有侵犯您的原创版权请告知,我们将尽快删除相关内容。
  每日推荐  
· 打造“医共体”,文登人民就医更方便
· 95后陆续入职:慢就业观兴起 专家建议合理
· 民警凌晨回家怕打扰老婆 躺门口睡一夜
· 澳大利亚贪吃老虎美餐后舔舐玻璃墙 表情憨
· 男子因妻杀人入狱 妻子7年后要求离婚被索赔
· 父子2人因讨债被困大楼8天 吃喝靠绳子吊上
· 歌唱祖国:穿越时空的旋律
· 男子与妻子吵架后盗走岳父家保险箱 被判刑5
· 南宁474岁最老樟树遭连根拔起 获抢救有望复
· 女生被电信诈骗1.9万 不停给骗子打电话要回
· 找到自己比找另一半更重要?说说你至今单身
· 拉萨河畔朵朵“格桑花”争芳吐蕊
· 广西境内兰海高速一载天然气罐车起火 道路
· 环卫工捡到10万现金上交 失主害怕不敢报警
· 男子开5座车一家7口去旅游 将老婆和娃藏后
  论坛热帖 更多>>
·文登同学毕业照征集活动 我要上传>>
·为身边单身男女征婚活动 我要上传>>
·网友上传宝宝照片活动 我要上传>>
·文登风光民俗照片集萃 我要上传>>
·文登登山俱乐部最新活动 我要参加>>
·文登姓氏族谱交流区 我要参加>>
  精彩图片
关于我们 - 联系我们 - 友情链接 - 招聘信息 - 版权声明 - 在线客服
copyright© 2002-2016 文登之窗 all rights reserved 增值电信业务许可编号鲁B2-20100020号
鲁icp备09074927号